AR-1P31
Доступен для скачивания
краткий каталог продукции:
Клапан пропорциональный соленоидный AR-1P31 нормально закрытый прямого действия с поршнем для плавного регулирования потока рабочей среды в трубопроводе
Особенности:
Модификации:
Версия: 2025-02-10-СДГ
Особенности:
- Регулирование потока среды через клапан в соответствии с подаваемым на катушку напряжением
- Может использоваться для управления расходом
- Срабатывание при нулевом давлении
- Cверхнизкое энергопотребление
- Компактный размер, малый вес
- Долгий срок службы
Принцип действия и область применения:
Технические характеристики:
Пропорциональные клапаны применяются для плавного регулирования потока рабочих жидких и газообразных сред в промышленности, сельском хозяйстве, химии, медицине и т. п. Регулирование потока рабочей среды через клапан осуществляется изменением положения поршня и, соответственно, проходного сечения клапана, в зависимости от поданного на катушку напряжения.
При постепенном увеличении напряжения питания до максимального электромагнитный клапан будет плавно открываться, и скорость потока будет увеличиваться. Аналогично при уменьшении напряжения, клапан будет плавно закрываться и скорость потока будет уменьшаться. Зависимость степени открытия клапана от поданного напряжения не является линейной. Динамика увеличения скорости потока при увеличении напряжения на катушке также зависит от давления рабочей среды. При отсутствии напряжения на катушке клапан полностью перекрывает поток.
При постепенном увеличении напряжения питания до максимального электромагнитный клапан будет плавно открываться, и скорость потока будет увеличиваться. Аналогично при уменьшении напряжения, клапан будет плавно закрываться и скорость потока будет уменьшаться. Зависимость степени открытия клапана от поданного напряжения не является линейной. Динамика увеличения скорости потока при увеличении напряжения на катушке также зависит от давления рабочей среды. При отсутствии напряжения на катушке клапан полностью перекрывает поток.
Для защиты клапана от попадания инородных частиц необходима установка фильтра механической очистки перед входным отверстием соленоидного клапана.
Для герметизации резьбовых металлических соединений рекомендуется использование анаэробных герметиков.
| Параметр
| Значение
| |
| Рабочая среда | Вода, воздух, кислород, закись азота, углекислый газ, кислородно-гелиевые смеси | |
| Материал | Корпуса | Латунь
|
| Уплотнения | VITON | |
| Температура рабочей среды | −10...+90°С | |
| Рабочее давление | 0,0...1,0 МПа | |
| Диаметр условного прохода | 0,25 мм | |
| Присоединение | Резьбовое G⅛" | |
| Катушка | AS25B, IP65, выводные провода 29 см | |
| Питание | =24 В | |
| Мощность
| 2 Вт (DC) | |
Модификации:
| Модель | Ду, мм | Kv, м³/ч
| Присоединение | Pmin, МПа | Pmax, МПа | Вес, г |
| AR-1P31-0,25-1/8-GBV | 0,25 | 0,01 | ⅛" | 0,0 | 1,0 | 83 |
Расшифровка обозначения на примере клапана AR-1P31-0,25-1/8-XYZ:
AR-1P31 — модель клапана;
0,25 — диаметр условного прохода, мм;
1/8 — размер резьбы в дюймах;
X — присоединение: G — трубная резьба;
Y — материал корпуса: B — латунь;
Z — материал уплотнения: V — VITON.
AR-1P31 — модель клапана;
0,25 — диаметр условного прохода, мм;
1/8 — размер резьбы в дюймах;
X — присоединение: G — трубная резьба;
Y — материал корпуса: B — латунь;
Z — материал уплотнения: V — VITON.
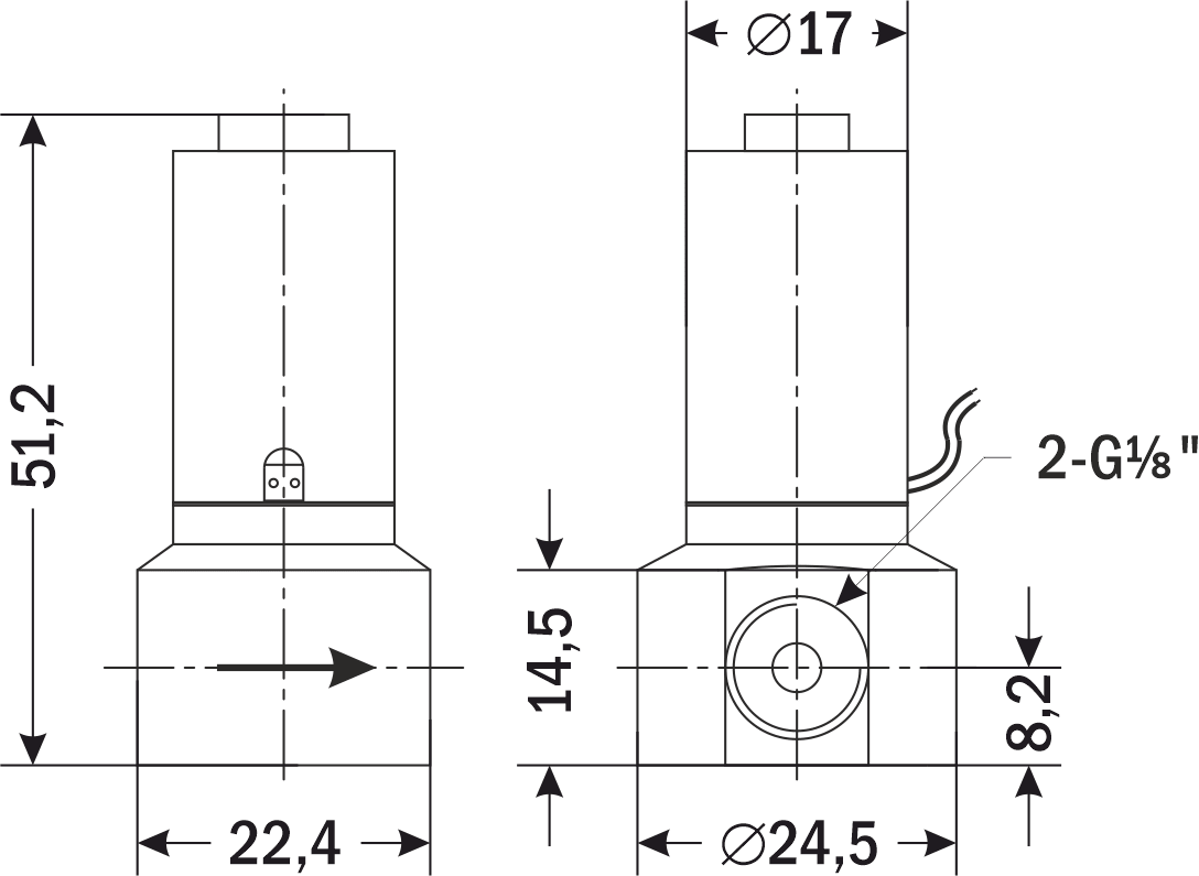
| Габаритный чертеж |
|
Версия: 2025-02-10-СДГ
| Документ | Дата обновления |
| Паспорт на AR-1P31 | 11.02.2025 |